
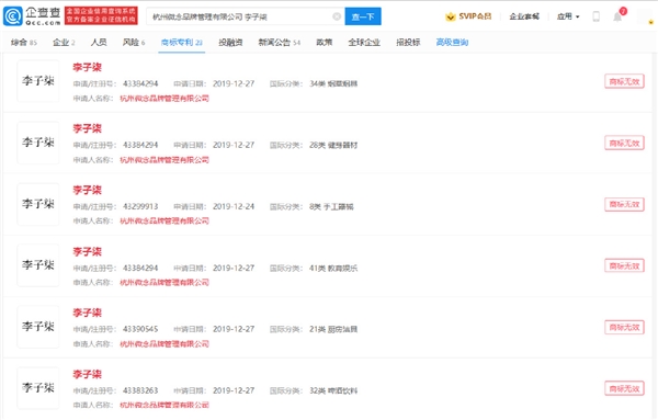
查查APP显示,近日,李子柒正式起诉杭州微念品牌管理有限公司,此外,该公司申请的李子柒商标均被驳回,商标流程状态变更为无效、等待驳回复审等,国际分类涉材料加工、餐饮住宿等。
据悉,杭州微念公司成立于2013年2月,2019年12月起,该公司接连申请多个李子柒商标。

7月14日断更,8月底,李子柒在其社交账号说“资本真的是好手段”。
10月25日,由李子柒控股49%的四川子柒文化传播有限公司,正式起诉杭州微念品牌管理有限公司、刘同明,立案法院为四川省绵阳市中级人民法院。

天眼查APP显示,10月25日,四川子柒文化传播有限公司与刘同明、MCN机构杭州微念品牌管理有限公司相关案件新增立案信息,一审原告为子柒文化,被告为杭州微念,刘同明。经办法院为四川省绵阳市中级人民法院。
股东信息显示,四川子柒文化传播有限公司由杭州微念品牌管理有限公司和李佳佳(李子柒)分别持股51%、49%。

此前,李子柒接受央视采访时表示:“李子柒这三个字,我是挺想保护它的,甚至我是不想让它以后太高的所谓的商业价值。”
